SECO45 Standard Material and Plating Options
SECO SEALS is introducing a new product line, SECO45, US Patent Pending, of 45-degree copper flare fitting gaskets. They are made of Copper (Per ASTM B152 and ASTM B 152M) and conform to ASE Standard J513_201912, “Refrigeration Tube Fittings – General Specifications” for general use with flared annealed copper tubing in refrigeration applications. SECO45 conical seals are available with optional “Tin” or “Silver” plating.
Available SECO45 Sizes
These flare gaskets stop leaks quick when properly installed. They are available in the following sizes.
| Nominal Tube OD | SECO45C | SECO45CT | SECO45CS |
|---|---|---|---|
| 3/16 “ | SECO45C03 | SECO45CT03 | SECO45CS03 |
| 1/4″ | SEOC45C04 | SECO45CT04 | SECO45CS04 |
| 5/16″ | SECO45C05 | SECO45CT05 | SECO45CS05 |
| 3/8″ | SECO45C06 | SECO45CT06 | SECO45CS06 |
| 1/2″ | SECO45C08 | SECO45CT08 | SECO45CS08 |
| 5/8″ | SECO45C10 | SECO45CT10 | SECO45CS10 |
| 3/4″ | SECO45C12 | SECO45CT12 | SECO45CS12 |
Table Notes:
- SECO45C = Copper
- SECO45CT = Copper with Tin Plating
- SECO45CS = Copper with Silver Plating







Why Use SECO45 Copper Flare Gaskets
Leaky fittings are the bane of customers. These include HVAC, and automotive to mention a few. A leaky fitting on your air conditioner leads to lose of refrigerant along with increased electrical bills not to mention the environmental impact to the ozone. A leaky fitting on your automobile leads to oil drips and stains in your garage, on your driveway, and in the street in front of your house.
Put Aerospace Technology in Your Toolbox
Service and warranty providers for HVAC, hydraulic, pneumatic, automotive, and other applications utilizing 45-degree flare fittings need a reliable solution that eliminates repeat warranty or service calls for the exact same problem. Typical applications utilizing 45 degree flare fittings are LP and Natural Gas, flammable liquids, instrumentation, refrigeration, power steering, HVAC, hydraulic and pneumatic systems.
Since 1969, SECO SEALS has sealed millions of high-pressure 37-degree flare tube fitting connections for aerospace, automotive and marine applications. Now this simple world class aerospace technology is available for 45-degree flare tube fitting connections.
Improve Customer Satisfaction
The one thing that no service or warranty organization needs or wants is a dissatisfied customer. Customer satisfaction leads to the best advertising possible, Word of Mouth.
Improve your customer satisfaction rating by utilizing SECO45 industry leading 45-degree copper flare gasket sealing solution for applications utilizing 45-degree flare tube fittings. The gasket is intended to never fail and never wear out. Optional “tin” or “silver” plating for SECO45, 45-degree flare gaskets, is available.
SECO45 Information PDF and Download
The SECO45 Information PDF consists of three pages.
For detailed technical information on our SECO45 product line. You can either view the SECO45 engineering drawings online or download a PDF of them.
Page 1 – SECO45 Overview
Page 1 of the information PDF provides complete sizing information and tolerances for SECO45 45-Degree Flared Tube Fitting Conical Seals.
Page 2 – SECO45 Overview
Page 2 of the SECO45 information PDF has Notes 1 through 7, Material and Finish, Cleaning and Packaging data for SECO45 45-Degree Flared Tube Fitting Conical Seals.
Page 3 – SECO45 Overview
Page 3 of the SECO45 information PDF has Notes 8 through 12, Material and Finish, Cleaning and Packaging data for SECO45-45 Degree Flared Tube Fitting Conical Seals.
Click on an image to view a full size image of the page.



SECO45 Patent Application
This is an excerpt from our Patent Application, Docket 205-00010. “Efforts have been made in the past to address leaks by adding gaskets between fittings. And while generally effective, previous efforts to create gaskets leave ample room for improvement. For example, currently known gaskets fail to contemplate improvements to performance that can be achieved by making the gaskets from softer materials that can be hardened upon tightening. Older gasket technology similarly fails to contemplate precise torquing requirements that lead to a desired material transformation that minimizes leak pathways. Finally, older gaskets also fall short by failing to include, along with other inventive features, specific material coatings that further reduce leak pathways.”
Below are the US Patent submission documentation for our US SECO45 product line of 45-degree copper flare fitting gaskets. They can be viewed online or downloaded.
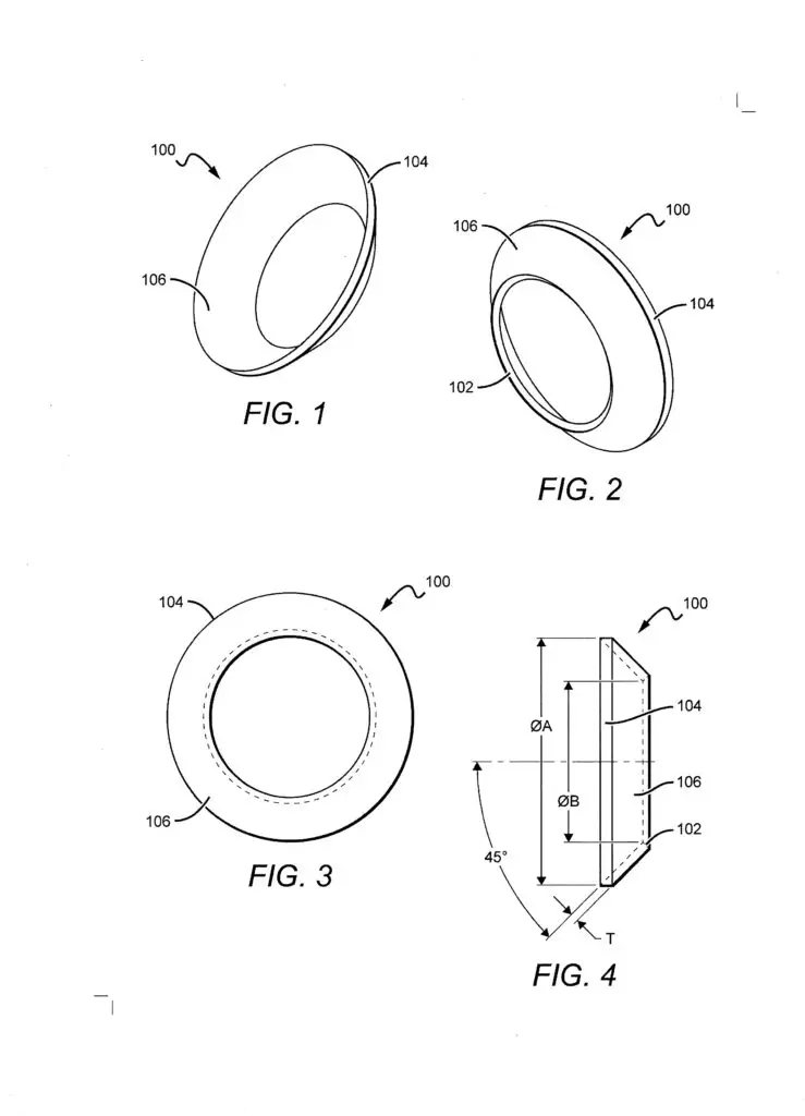
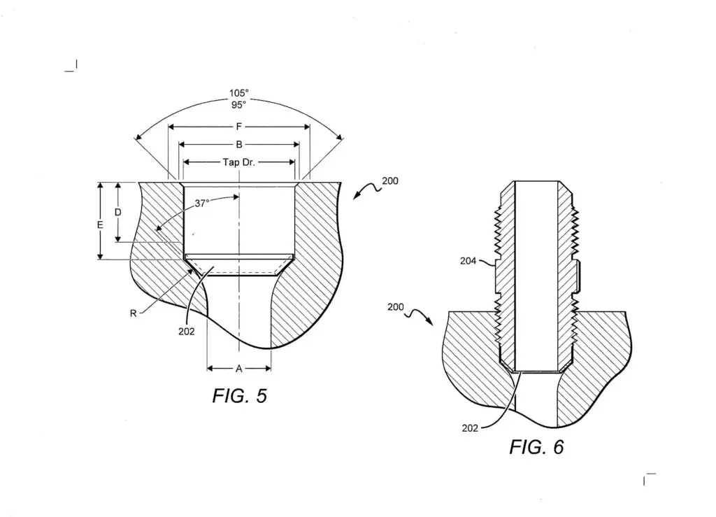
SECO45 Patent Application Drawings
Click on the images below to see a full size of the individual SECO45 Patent Application Drawings pages.
Page 1 – SECO45 Patent Overview
Page 1 shows Figures 1 through 4.
Page 2 – SECO45 Patent Overview
Page 2 shows Figures 5 and 6.
Page 3 – SECO45 Patent Overview
Page 3 shows Figures 7 and 8.
SAE J513_201912
This SAE Standard covers complete general and dimensional specifications for refrigeration tube fittings of the flare type specified in Figures 1 to 42 and Tables 1 to 15. These fittings are intended for general use with flared annealed copper tubing in refrigeration applications.
Click on the button and go to SAE’s webpage for J513_201912 where you can purchase and download a copy of the standard.
Call or Fax for Information
Phone: +1 714.546.3478
Fax: +1 714.546.3106
or




